До усадки (а)

После усадки (b)

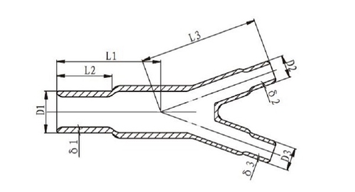
| Модель | D1 | D | 2,3 | L1 ±10% | L2 ±10% | L3 ±10% | s1 ±20% | δ2 * δ 3 ±20% | |
|---|---|---|---|---|---|---|---|---|---|
| До усадки | После усадки | До усадки | После усадки | ||||||
| C2111 | 13.5 | 6 | 6.6 | 3.3 | 24 | 1 5.5 | 25 | 2.0 | 1.5 |
| Единица измерения: мм | |||||||||
До усадки (а)

После усадки (b)

| Модель | D1 | D | 2,3 | L1 ±10% | L2 ±10% | L3 ±10% | s1 ±20% | δ2 * δ 3 ±20% | |
|---|---|---|---|---|---|---|---|---|---|
| До усадки | После усадки | До усадки | После усадки | ||||||
| C2111 | 13.5 | 6 | 6.6 | 3.3 | 24 | 1 5.5 | 25 | 2.0 | 1.5 |
| Единица измерения: мм | |||||||||